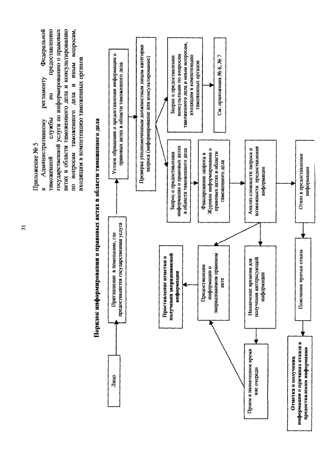
ПРИКАЗ ФТС РФ от 24.05.2006 N 469
"ОБ УТВЕРЖДЕНИИ АДМИНИСТРАТИВНОГО РЕГЛАМЕНТА ФЕДЕРАЛЬНОЙ ТАМОЖЕННОЙ СЛУЖБЫ ПО ПРЕДОСТАВЛЕНИЮ ГОСУДАРСТВЕННОЙ УСЛУГИ ПО ИНФОРМИРОВАНИЮ О ПРАВОВЫХ АКТАХ В ОБЛАСТИ ТАМОЖЕННОГО ДЕЛА И КОНСУЛЬТИРОВАНИЮ ПО ВОПРОСАМ ТАМОЖЕННОГО ДЕЛА И ИНЫМ ВОПРОСАМ, ВХОДЯЩИМ В КОМПЕТЕНЦИЮ ТАМОЖЕННЫХ ОРГАНОВ"
(Зарегистрировано в Минюсте РФ 13.09.2006 N 8233)

Скачать:
Страница 31 из 33